Датчик движения Theben LUXA 103-200T (1030031)
Описание функций
- Датчики движения (ИК)
- Автоматическое управление освещение по фактору движения и уровню естественного освещения
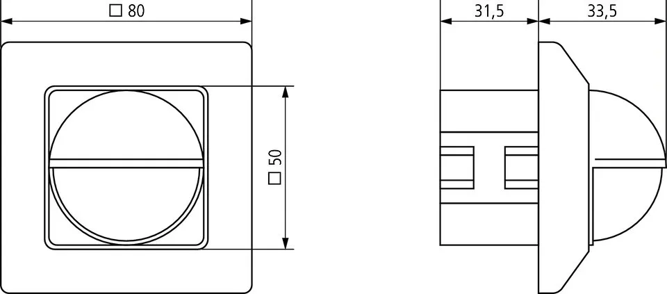
- Настенный монтаж
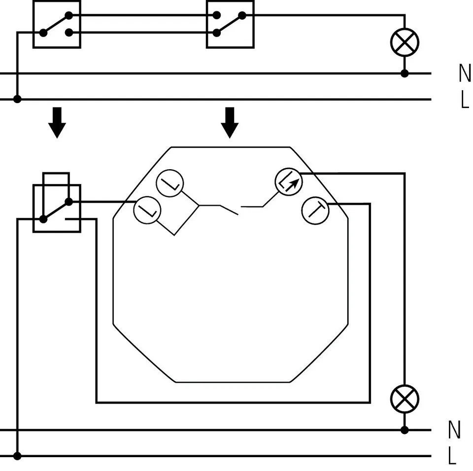
- Устанавливается в монтажную коробку (можно вместо обычного выключателя)
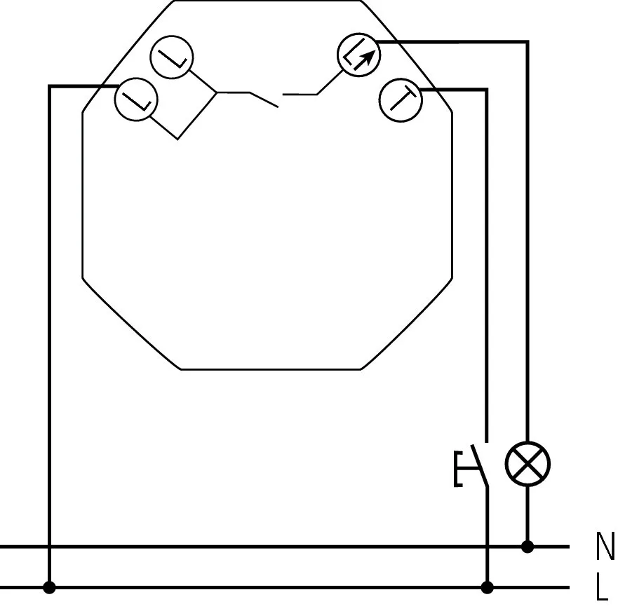
- Двухпроводное подключения (не требуется подключение «нуля»), идеально подходит для модернизации старых эл. сетей
- Тиристорный выход, 230В AC
- Подходит только для ламп накаливания и галогенных ламп 230В
- Зона обнаружения может быть ограничена установкой непрозрачных сегментов (входят в комплект поставки))
- Три положения ручного переключателя OFF / AUTO / ON
- Автонастройка порога срабатывания по освещенности
- Плавное уменьшение яркости ламп до 60% за 15 секунд до выключения , затем, плавное выключение
- Заводские настройки датчика подходят для большинства случаев использования
- Закрытые потенциометры исключают случайное или несанкционированное изменение настроек
- Настраиваемые порог срабатывания по освещенности и задержка отключения
- Настраиваемая чувствительность (размер зоны обнаружения)
- Функция «Импульс» (при обнаружении движения, датчик замыкает реле на 1 с - этот импульс может поступать на др. управляющую аппаратуру)
- Функция «Тест»
Технические характеристики
| Номинальное напряжение | 230 V AC |
| Частота | 50 Гц |
| Энергопотребление в режиме ожидания | ~0,7 Вт |
| Измерение освещенности | Смешанное измерение освещенности |
| Количество каналов | 1 |
| Тип контактов | Тиристор |
| Цвет | Белый |
| Релейный выход | Освещение |
| Тип монтажа | Врезной монтаж настенный монтаж |
| Диапазон настройки яркости | 10 – 1000 Лк Плавная регулировка |
| Коммутационная способность | 2 A при 230 В AC, cos φ = 1 |
| Угол зоны обнаружения | 200 , круговая |
| высота установки | 1,2 – 2 m |
| Задержка отключения освещения | 20 сек - 30 мин |
| Лампы накаливания/галогенные | 400 Вт |
| Лампы | Лампы накаливания/галогенные |
| Дистанционно управляемый | нет |
| Температура окружающей среды | 0°C ... +45°C |
| Класс электрической защиты | II |
| Степень защиты | IP 40 |
Диапазон измерений
| Высота установки (А) | Диагональ (t) | Навстречу к датчику (R) |
| 2 m | 8 m | 3,5 m |